如何选择磁性翻板液位计,在所有的产品中,都是在选型问题上比较困难,对此佑富小编整理了关于磁性翻板液位计的选型问题,以便于各位看官清楚明了的选型。
一、顶装型和侧装型的选择。根据安装方式的不同,磁性翻板液位计分为侧装磁性翻板液位计和顶装型磁性翻板液位计,通常比较常见的是采用侧装,但是若遇到放置于地下的储罐时,为了便于安装需选择顶装型磁性翻板液位计。
二、远传和防爆型的选择。磁性翻板液位计除了可以实现现场就地显示功能外,通过配备干簧管远传变送器或磁开关,可实现远程控制功能,若现场工况恶劣具有爆炸性环境,还需配置防爆型。
三、保温性产品的选择。
另外根据不同的工况在北方地区的冬季或者测量现场有经常性低温状况时,我们就需要选择保温型的产品,保温型的产品主要有三种真空夹套保温型、蒸汽夹套保温、电加热保温,其中电加热方式安装相对灵活,蒸汽夹套保温型则需要配套有相应的加热蒸汽。
四、而遇到腐蚀性的介质测量时,则需要考虑选用防腐型的产品,防腐型的产品也有多种类型,比如PP材质、PVC材质、四氟内衬材质,其中四氟内衬防腐的效果最好,但是加工工艺复杂,价格略高于其它产品。
五、配套装置的选择。另外一些配套装置的选择对于后期维护也非常有用,比如,用户可选择带有排空阀和排污阀的产品,因为使用过程中难免会出现导管内腔受到测量介质脏垢的吸附,影响磁浮子的正常运行,这时如果有排污阀便可以通过内腔的清洗轻松解决问题。
六、佑富系列磁性翻板液位计的型号选择。
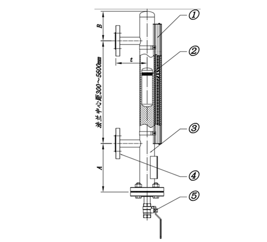
ML系列磁性翻板液位计主要由①指示器、②磁浮子、③浮筒、④连接法兰、⑤排污阀组成,如下图所示:

对于磁性翻板液位计的选型问题,已经很清楚的介绍了几个重要的要点,当然如果自己的安装使用工况清楚,这样也无疑是对选型有着极大的帮助。
本文地址:http://www.shyoufu.cn/hyzx/171.html
-
有智能分层视镜的资料吗
-
我司需上一批智能分层视镜,请回电/先短信通知
-
能举例说明如何校验绝对压力变送器有吗?
量程 0~1000mbar ABS 如何校验?
欢迎致电我司技术
-
SFSD20有具体尺寸吗
与SFSD23尺寸一致,只是接头不同。
-
怎么选流量计呢,需要知道哪些参数
流量计的选型,需要知道测量的介质、温度、压力以及安装方式,然后就知道使用哪种流量计比较合理了。
-
电磁流量计为什么不可以测量不导电的介质呢?
电磁流量计是根据法拉第电磁感应定律进行流量测量的流量计,通过切割磁力线来测量液体的流量的。
-
由于氧化的柴油粘污在玻璃面板上,导致无法看清液位,应该怎么办
您好!已转技术联系您。